当前美股指数期权市场成交量略有下行点金股,认沽/认购比例下行,空头力量有所退场。
今日到期的标普500指数期权成交量分布:Call单与Put单分布存在分歧,Put单峰值在6640点,Call单峰值在6760点。
今日到期的纳斯达克100指数期权成交量分布:Call单峰值为25000,Put单峰值在24600点。
二、美股期权成交榜1、 奈飞上一交易日跌10.07%,前一日认沽/认购比例略有下行,成交量上行,多头交易活跃。
观察本周五到期的put单点金股,多张涨幅超2倍。

观察期权异动大单,临收盘前,大户以看空为主。

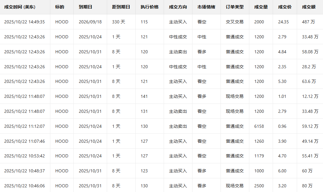
2、 Robinhood上一交易日跌3.5%,前一日认沽/认购比例略有上行,成交量上行,多空较为均衡。
观察本周五到期的put单,最高涨幅达5倍。

观察期权异动大单,大户做空较多。

美股期权成交量排行榜前十

美股引申波动幅度排行榜前十(标的市值>100亿美元,且期权成交量>10万美元)
三、美股ETF期权成交榜美股ETF期权成交量排行榜前十
美股ETF引申波幅排行榜前十(标的要求:市值>100亿美元)
买入还是卖出?4个口诀选对美股期权交易方向
弘利配资提示:文章来自网络,不代表本站观点。